通用方向控制電磁閥VMPA1-M1H-D-M7-PI(533384)系列
發布時間:2024-09-26 15:21:49點擊量:



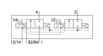
VMPA閥島的閥功能完善,所有的閥都配備了活塞滑閥和專利保護的密封系統,提高密封效率,壓力范圍廣,使用壽命長。為了提高功率,閥片采用了氣動先導控制,由輔助先導氣源供氣因為管道接口在底座上,所以可快速更換板式閥。結構非常狹長。除了閥功能外,板式閥可帶一個電磁線圈(單電控)或兩個電磁線圈(雙電控)。







VMPA閥島的閥功能完善,所有的閥都配備了活塞滑閥和專利保護的密封系統,提高密封效率,壓力范圍廣,使用壽命長。為了提高功率,閥片采用了氣動先導控制,由輔助先導氣源供氣因為管道接口在底座上,所以可快速更換板式閥。結構非常狹長。除了閥功能外,板式閥可帶一個電磁線圈(單電控)或兩個電磁線圈(雙電控)。



